
登录新浪财经APP 搜索【信披】查看更多考评等级现货配资最新消息
炒股就看金麒麟分析师研报,权威,专业,及时,全面,助您挖掘潜力主题机会!
来源:新刊财经
在某电商平台绿瘦专卖店中,三丽牌璇姆茶的批准文号标注为国食健字G20040271。然而,该批准文号对应的实际产品为北京御生堂保健食品有限公司旗下的同名三丽牌璇姆茶。
随着2025年体重管理市场热度持续走高,减肥议题再度成为关注焦点。
据相关报道,2025年3月份的调查数据显示,我国成人超重肥胖率已达50.7%,青少年肥胖率15年增长12倍,每年因肥胖导致的直接医疗费用超2400亿元。国家卫健委发布的《体重管理指导原则(2024年版)》也指出:若当前趋势得不到有效控制,到2030年,我国成人和儿童的超重肥胖率预计将分别达到70.5%和31.8%。
在此背景下,已有多家企业专注于该健康市场产品的研发等。其中一家在国内经营多年的减肥品牌及其母公司尤为值得关注,其在经历两次借壳上市失败、三次冲击资本市场后,曾一度淡出公众视野,但近期似乎动作频频,打着“为了中国人的身心健康”的旗号,在减肥市场上再掀波澜。
该公司便是由绿瘦集团更名而来的壹健康,旗下拥有女性减肥品牌“绿瘦”以及男科品牌“壹邦健康”,创始人为皮涛涛。然而,其商业实践却与宣称理念不吻合,大量消费者权益受损案例浮出水面。
消费者揭秘绿瘦营销套路
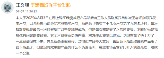
据黑猫投诉 【下载黑猫投诉客户端】平台及小红书多位用户反馈,众多消费者通过线上渠道购买绿瘦减肥产品后,遭遇了效果与宣传严重不符的情况,且消费金额高昂,从数千元至数万元不等。消费者纷纷质疑绿瘦在销售过程中存在虚假宣传与夸大功效的问题,而售后部门却将减肥失败的责任归咎于消费者自身,令其陷入维权无门的窘境。
图片来源于:黑猫投诉平台、小红书
新刊财经梳理消费者投诉消费者投诉信息发现,多位消费者反映称绿瘦销售员似乎采用了一套成熟的营销套路:首先,以500 - 600元的低价引流套餐吸引消费者,承诺无需节食、运动即可实现瘦身目标;随后,利用减糖、分解脂肪、促进脂肪代谢等看似专业,实则漏洞百出的话术,逐步诱导消费者购买价格更为昂贵的产品套餐。随着消费金额的不断攀升,当消费者开始察觉产品效果可能并不如预期时,销售员则会采取恐吓、施压等手段,摧毁消费者的心理防线,声称若不继续购买,之前的努力将付诸东流,甚至可能导致体重反弹等负面后果。
在此情境下,部分消费者因不堪沉没成本的压力而选择妥协,继续投入资金;而另一些意识到受骗的消费者,虽尝试通过投诉来维护自身权益,但往往投诉无果,犹如石沉大海。从本质上讲,由于绿瘦的产品和服务均明码标价,消费者追回损失的可能性微乎其微,进一步加剧了其维权难度。
图片来源于:黑猫投诉平台
值得注意的是,绿瘦产品主要借助直销渠道推向市场。从定义上来说,直销是一种跳过中间商环节,由制造商直接将产品送达消费者手中的销售模式。这种模式往往倚重熟人推荐机制,销售人员通过代理加盟的形式直接开展销售活动。如此一来,商家能够省去商铺房租、广告投放以及部分销售人员薪酬等成本开支,理论上可使商品具备更高的性价比。从表面上看,这种模式构建了一个商家节省成本、销售获取可观报酬、客户购得实惠好物,各方皆能从中受益的理想商业生态。
然而,现实往往与理想存在差距。这一看似完美且高效的销售模式,实则暗藏着巨大风险。通过加盟获取高额佣金的激励机制,虽然在某种程度上激发了销售人员的积极性,但也为不良商家提供了可乘之机。近年来,国内多起案例揭示,部分直销商家打着直销的旗号,暗地里从事拉人头的“传销式”活动。他们通过夸大产品功效、虚假宣传等手段,使大量人员盲目加入,最终形成了一个庞大的金字塔式骗局,对正常的市场秩序造成了较大冲击。
未获直销备案?
按照监管规定,直销企业依法需在商务部完成备案登记手续。然而,当在商务部业务系统统一平台进行检索时,无论是输入“绿瘦”还是“壹健康”,系统均显示无相关记录。新刊财经进一步对已备案的86家直销企业梳理,亦未发现“广东壹健康健康产业集团股份有限公司”的备案信息。
图片来源于:商务部业务系统统一平台
根据《直销管理条例》2017年修订版第三十九条规定,未经批准擅自从事直销活动的企业,将面临工商行政管理部门的惩处。具体而言,工商行政管理部门将责令其改正违规行为,没收直销产品及违法销售收入,并处以5万元以上30万元以下的罚款;若情节严重,罚款金额将提升至30万元以上50万元以下,同时依法予以取缔;若该行为构成犯罪,则将依法追究相关责任人的刑事责任。
在此监管背景下,壹健康若未获直销备案却开展对应相关业务的行为,或已涉嫌违规。
相较于绿瘦品牌聚焦于女性体重管理领域,壹健康旗下壹邦健康品牌则将服务重心转向男性市场。然而,壹邦健康的销售行为与模式却与绿瘦高度相似。
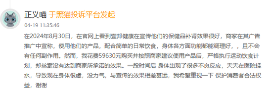
在黑猫投诉平台上,有男性用户反馈,壹邦健康的销售人员将保健食品伪装成中成药,打着中医的旗号对消费者进行误导性宣传。销售过程中,先以价格约1000元的引流产品吸引客户,待客户“上钩”后,再推销后续价格高昂的治疗疗程,费用动辄上万元。然而,消费者即便按照疗程服用产品,却未见任何明显效果。而当消费者提出退款要求时,销售人员便开始拖延推诿,甚至直接失联。
另有消费者表示,其希望通过服用保健品达到补肾的目的,但壹邦健康为其制定的疗程费用极为高昂,接近六万元。该用户严格按照要求使用产品并执行运动饮食计划,但身体状况不仅未得到改善,反而愈发虚弱,与产品宣传的效果大相径庭。
图片来源于:黑猫投诉平台
从商业策略来看,壹健康的市场切入点颇为“精妙”。无论是针对女性群体的减肥需求,还是瞄准男性市场的补肾诉求,这些健康问题的改善均需经历一个相对漫长的过程。
就减肥和补肾的实际效果而言,其受个体差异、饮食习惯、生活方式等诸多因素影响,存在显著的不确定性。即便消费者使用壹健康的产品后未能达到预期效果,壹健康也能轻易地将责任推卸给这些不可控因素,从而规避自身应承担的责任。
三丽牌璇姆茶批文存疑
从产品端审视,绿瘦品牌的产品主要汇聚于其“好享瘦”APP平台。该平台的产品体系主要涵盖保健食品以及女性魅力成长课程两大类别。在课程消费方面,平台采用“绿豆”作为虚拟货币进行计价,用户既可以通过参与日常活动获取部分绿豆,也能够直接充值兑换,充值比例为1元可兑换10绿豆。
图片来源于:“好享瘦”APP
以绿瘦销量位居前列的三丽牌璇姆茶为例,其在APP中的商品展示界面极为简略,仅有一张产品图片,并标注了价格为170元一盒,净含量为30g(规格为2g/袋,共15袋),也就是5.67元/g,但并无功能、批准文号、用法用量、生产日期等详细的产品参数,一定程度上暴露出绿瘦在产品管理和信息披露方面存在的明显漏洞。
图片来源于:“好享瘦”APP
在某电商平台绿瘦专卖店中,三丽牌璇姆茶的批准文号标注为国食健字G20040271。然而,该批准文号对应的实际产品为北京御生堂保健食品有限公司旗下的同名三丽牌璇姆茶。在另一电商平台,北京御生堂的这款产品售价为56元/件,净含量更多,为40g(2g/袋*20袋),即1.4元/g,但外包装与绿瘦同名产品存在明显不同。
图片来源于:京东商城、淘宝、国家市场监督管理总局官网
由此来看,绿瘦或采取了“偷梁换柱”的运作模式,将北京御生堂旗下的三丽牌璇姆茶购入后,更换为带有自身绿瘦logo的包装,随后以超过原价四倍多的价格转售给消费者。
此外,根据《直销管理条例》2017年修订版第四十三条的规定,直销企业及其直销员若存在欺骗、误导等宣传和推销行为,将受到相应的行政处罚。对于直销企业,工商行政管理部门可处以3万元以上10万元以下的罚款;情节严重的,处10万元以上30万元以下的罚款,并可吊销有违法经营行为的直销企业分支机构的营业执照,直至由国务院商务主管部门吊销直销企业的直销经营许可证。对于直销员,工商行政管理部门可处以5万元以下的罚款;情节严重的,责令直销企业撤销其直销员资格。
营销开支侵蚀利润,股权遭冻结
除了上述销售及产品问题,壹健康公司自身经营状况与潜在风险不容小觑。
据招股书披露,2020年至2022年期间,壹健康实现营业收入分别为20.52亿元、17.96亿元和24.23亿元,三年累计营收达62.71亿元,且2022年毛利率一度高达72.5%。
然而,在这光鲜业绩的背后,其营销模式同样饱受争议。由于存在互联网引流模式运营情况,高额的销售及营销费用正长期影响着公司利润。2020年至2022年,壹健康的销售及营销开支分别高达9.18亿元、10.44亿元和14亿元,占同年总收入的比重分别为44.8%、58.2%和57.8%,三年合计总额达33.62亿元。或受此影响,壹健康的净利润表现不佳,分别为1.88亿元、-1842万元和1.12亿元,净利率分别仅为9.16%、-1.03%和4.62%,盈利能力堪忧。
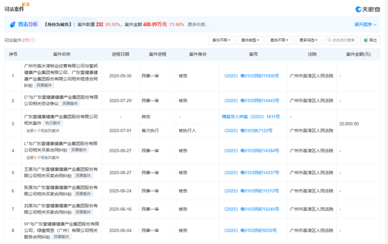
值得注意的是,根据天眼查披露,截至2025年7月17日,壹健康还涉及司法案件270件,其中作为被告的司法案件多达232起,涉及金额超过600万元,涉及的纠纷事项主要包括买卖合同纠纷、劳动争议以及财产保全等。此外,广东壹健康健康产业集团股份有限公司以及优创投资有限公司旗下股权分别自2025年4月9日、2023年11月23日起被冻结,冻结期限均为三年,进一步加剧了壹健康的运营风险。
图片来源于:天眼查
综合来看,多起客户投诉已然将壹健康及其旗下品牌绿瘦、壹邦健康的一系列问题暴露。壹健康或需及时回归商业本质,将发展的重心从短期的营销手段和利益追逐,转移到产品研发、品质提升和服务优化等核心环节上来,以诚信和质量赢得市场认可。唯有如此,其才能真正如期宣传所述,为消费者的健康保驾护航。
作者 | 王昊宇
新浪声明:此消息系转载自新浪合作媒体,新浪网登载此文出于传递更多信息之目的,并不意味着赞同其观点或证实其描述。文章内容仅供参考,不构成投资建议。投资者据此操作,风险自担。
海量资讯、精准解读,尽在新浪财经APP
责任编辑:杨红卜 现货配资最新消息
粤友钱提示:文章来自网络,不代表本站观点。